
СМОТРЕТЬ В 3D
Смотрите также раздел «Пули, баллончики, аксессуары для пневматики».
Описание пистолета МР-655К
Пистолет МР-655К предназначен для развлекательной стрельбы и приобретения первоначальных навыков в обращении с оружием.
Изделие имеет внешний вид современного боевого 9мм пистолета Ярыгина, разработанного по заказу Российской армии и принятого на вооружение в 2003г. Манипуляции, связанные с перезаряжанием и выполнением неполной разборки MP 655K воспроизводят подобные действия боевого аналога. Наличие двустороннего предохранителя и двусторонней защелки магазина МР 655 К обеспечивает удобство при стрельбе как с правой, так и с левой руки.
Пистолет имеет возможность стрельбы двумя видами пуль:
- стальными сферическими пулями ВВ;
- свинцовыми пулями типа «Диаболо».
Модель оснащена:
- оригинальным магазином бункерного типа, ускоряющим процесс заряжания и увеличивающим емкость магазина до 100 пуль ВВ;
- устройством блокировки ударно-спускового механизма, для экономии СО2;
- указателем наличия и количества пуль ВВ в бункере;
- двумя барабанами для стрельбы пулями «Диаболо» и пулями ВВ.
Прицел с микрометрической регулировкой позволяет регулировать прицельную линию по горизонтали и вертикали. Ударно-спусковой механизм дает возможность производить стрельбу как самовзводом, так и с предварительно взведенным курком.
Для стрельбы используются 12гр. баллончики с СО2.
Пистолет МР-655 К приобретается без лицензии на оружие.
Конструкция пистолета MP 655K защищена 3 патентами.
Технические характеристики
| Калибр, мм |
Начальная скорость пули, м/с |
Дульная энергия, Дж, не более |
Емкость магазина пуль, BBs/«Диаболо» |
Габаритные размеры, мм, не более |
Масса, кг |
| 4,5 |
110 |
3,0 |
100/8 |
200х150х40 |
0,7 |
Назначение пистолета МР 655 К
Пистолет пневматический газобаллонный МР-655К предназначен для первоначального обучения стрельбе по неподвижным мишеням и любительской стрельбы пулями <Диаболо> или пулями стальными сферическими для пневматического оружия калибра 4,5 мм.
Стрельба ведется при температуре окружающей среды от 283К (+10°С) до 313 К (+40°С).
Устройство и принцип работы
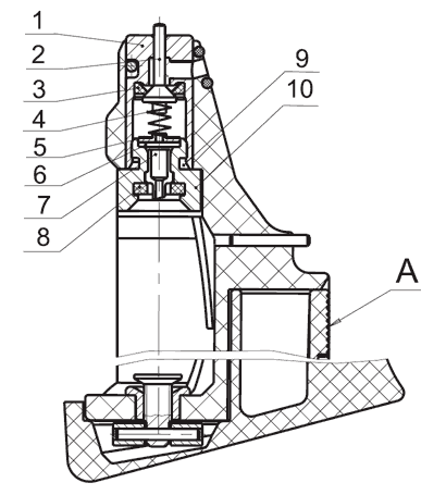
1. Устройство (схема механизмов) пистолета MP-655 K показана на рис. 1.
2. Вылет пули из канала ствола происходит за счет энергии сжиженного газа, размещенного в баллончике с углекислым газом. Для стрельбы используются 12-граммовые баллончики.
Отсечка порции газа, для придания пуле определенной скорости, происходит за cчет работы ударно-спускового механизма.
3. Многозарядность пистолета обеспечивается за счет размещения восьми пуль в отверстиях магазина. Сферические пули дополнительно размещаются в бункере, из которого под действием пружины подавателя поступают в отверстия магазина по мере их освобождения в процессе стрельбы. Поворот магазина осуществляется при нажатии на спусковой крючок.
4. В конструкции пистолета предусмотрено два исполнения магазина:
- со ступенчатыми отверстиями под сферические пули и наличием маркировки, выполненной буквой «В» на торце магазина в зоне «зубчатки»;
- с гладкими отверстиями под свинцовые пули «Диаболо» без маркировки.
5. Спусковой механизм пистолета позволяет производить стрельбу как самовзводом, так и с предварительным взведением курка.
6. В конструкции пистолета предусмотрен неавтоматический двухсторонний предохранитель, размещенный в основании и блокирующий шептало, исключая случайный выстрел.
7. Конструкция пистолета оснащена механизмом блокировки спускового механизма при отсутствии пуль в барабане и сигнализатором количества сферических пуль в бункере.

Рис. 1. Устройство (схема механизмов) пистолета МР-655К
1 - кожух ствола; 2 - фальшствол; 3 - подаватель; 4 - пружина подавателя; 5 - винт ствола; 6 - штифт; 7 - шептало; 8 - курок; 9 - штифт; 10 - прицел; 11 - штифт; 12 - предохранитель; 13 - боевая пружина; 14 - клапан; 15 - винт поджимной; 16 - крышка; 17 - корпус клапанного устройства; 18 - рукоятка; 19 - защелка; 20 - спусковой крючок; 21 - бункер; 22 - фиксатор; 23 - возвратная пружина; 24 - ствол; 25 - замыкатель.

Рис. 2. Детали клапанного устройства пистолета МР-655К
1 - втулка клапана; 2 - клапан; 3 - элемент запорный; 4 - пружина клапана; 5 - шайба клапана; 6 - фильтр; 7 - игла; 8 - элемент запорный-01; 9 - кольцо; 10 - корпус.
Меры безопасности при обращении с пистолетом
1. Эксплуатируемый Вами пистолет может представлять опасность для людей при легкомысленном обращении с ним.
2. При выборе направления стрельбы необходимо учитывать, что выстрел опасен на дистанции до 100 м.
3. Направлять заряженный пистолет только в сторону мишени.
4. При эксплуатации пистолета ЗАПРЕЩАЕТСЯ:
- НАПРАВЛЯТЬ ПИСТОЛЕТ ДУЛЬНОЙ ЧАСТЬЮ В СТОРОНУ ЛЮДЕЙ;
- ОСТАВЛЯТЬ И ХРАНИТЬ ПИСТОЛЕТ ЗАРЯЖЕННЫЙ ПУЛЯМИ;
- РАЗБИРАТЬ ПИСТОЛЕТ СО ВСТАВЛЕННЫМ БАЛЛОНЧИКОМ, НАПОЛНЕННЫМ ГАЗОМ;
- ОТСОЕДИНЯТЬ ОТ КЛАПАННОГО УСТРОЙСТВА БАЛЛОНЧИК, НАПОЛНЕННЫЙ ГАЗОМ.
5. После окончания стрельбы убедиться в том, что пистолет разряжен. При наличии пуль в магазине снять магазин и извлечь пули. При наличии сферических пуль в бункере извлечь их через загрузочное окно бункера.
6. В случае временного прекращения стрельбы включить предохранитель (переместить флажок предохранителя вверх).
ВНИМАНИЕ! Открытое ношение и имитация применения пневматического пистолета МР-655К как боевого оружия может ввести в заблуждение работников правоохранительных органов или граждан и дать им основания для применения против Вас огнестрельного оружия или иных средств самозащиты.
Порядок эксплуатации
1. Удалить смазку из канала ствола и снять лишнюю смазку с наружных поверхностей пистолета.
2. Проверить работу ударно-спускового механизма. Конструкция пистолета снабжена механизмом блокировки спускового механизма при отсутствии пуль в магазине. Не рекомендуется прилагать чрезмерное усилие на спусковой крючок, при отсутствии пуль в магазине. Для проверки работоспособности пистолета холостыми спусками необходимо отодвинуть фальшствол в переднее положение.
3. При подготовке пистолета к стрельбе необходимо (см. рис. 1):
- извлечь клапанное устройство 17, нажав на защелку 19 с любой стороны;
- нажать на клавишу А (рис. 2) на передней поверхности клапанного устройства и снять крышку 16, тем самым освободить доступ к поджимному винту 15;
- вставить баллончик, произвести его накалывание путем закручивания поджимного винта. С целью снижения усилия накола баллончика рекомендуется использовать крышку 16. Для чего ее необходимо, одним из пазов, расположенных в зоне клавиши, установить на антабку поджимного винта;
- отвести кожух ствола назад до открытия приемного окна под магазин (около 10...15 мм) и зафиксировать его на зубе замыкателя 25;
- переместить фальшствол за выступ в зоне приемного окна в переднее положение;
- извлечь магазин.
Примечание. В связи с тем, что магазин для сферических пуль снабжен магнитом, рекомендуется следующая последовательность по его извлечению:
- ВНИМАНИЕ! ИЗВЛЕЧЬ КЛАПАННОЕ УСТРОЙСТВО, НАЖАТЬ НА ЗАЩЕЛКУ 19;
- удерживая пистолет в правой руке за рукоятку, открыть приемное окно под магазин и отвести фальшствол, зафиксировать магазин левой рукой в приемном окне с левой стороны;
- плавно нажимая на спусковой крючок, приподнять магазин вверх;
- после подъема магазина извлечь его вращательным движением слева направо.
В зависимости от желания стреляющего, стрелять пулями «Диаболо» или сферическими пулями, берется соответствующий магазин.
При стрельбе пулями «Диаболо»:
- вставить пули в радиальные отверстия магазина (пули вставлять со стороны «зубчатки»);
- установить магазин в паз пистолета «зубчаткой» назад. При этом пули должны надежно удерживаться в гнездах магазина и не выступать за его габариты;
- отвести кожух ствола в крайнее заднее положение и отпустить.
При стрельбе сферическими пулями:
- установить магазин с маркировкой «В» в паз пистолета «зубчаткой» назад;
- переместить фальшствол в крайнее переднее положение;
- через открывшееся окно бункера 21 засыпать до 100 сферических пуль (для обеспечения большего удобства снаряжения бункера при использовании различных упаковок, для зарядки бункера рекомендуется использовать крышку 16. Заполненная полость крышки вмещает 100 сферических пуль);
- держа пистолет горизонтально отвести кожух ствола в крайнее заднее положение и отпустить.
4. Пистолет готов к стрельбе. При стрельбе сферическими пулями, для ориентировочного определения количества пуль в бункере отведите кожух ствола в крайнее заднее положение. Через отверстия различного диаметра расположенные на фальшстволе можно наблюдать положение подавателя (деталь серого цвета). Количество пуль соответствует следующим значениям: 100-80, 60-45 и 30-15 пуль для большего, среднего и меньшего сигнального отверстия соответственно.
5. Стрельба самовзводом осуществляется простым нажатием на спусковой крючок 20.
6. Стрельба с боевого взвода осуществляется путем предварительной постановки курка 8 на боевой взвод с последующим нажатием на спусковой крючок.
7. При эксплуатации пистолета строго соблюдайте правила, изложенные в разделе «Меры безопасности при обращении с пистолетом».
Техническое обслуживание
1. Правильное обращение и своевременное техническое обслуживание пистолета повышает срок службы и гарантирует надежную работу. Не следует, если нет необходимости, производить полную разборку пистолета.
2. Применять для стрельбы только пули, указанные в разделе «Основные сведения об изделии».
3. Неполную разборку пистолета следует производить в следующем порядке (рис. 1):
- нажать на защелку 19, снять клапанное устройство 17;
- поставить кожух ствола 1 на замыкатель 25 на ближайший паз, отодвинуть крышку фальшствола 2 вперед и извлечь магазин;
- отодвинуть кожух ствола в крайнее заднее положение и поднять вверх. Движением вперед снять кожух ствола.
- извлечь замыкатель, утопив его выступ с правой стороны;
- движением вверх и вперед, извлечь бункер 21 со спусковым механизмом из рукоятки;
- снять возвратную пружину 23 и фальшствол 2 с подавателем 3 и фиксатором 22, движением с поворотом извлечь подаватель и пружину подавателя 4;
- выбить штифты 6 и 9 и извлечь ударно-спусковой механизм;
- для извлечения ствола 24, отвернуть винт 5.
4. Сборку пистолета производить в обратном порядке.
5. В случае застревания пули в стволе, извлечь магазин, протолкнуть пулю шомполом через дульную часть обратно в приемное окно магазина.
6. Через каждые 1500-2000 выстрелов производить смазку спускового механизма. Чистку канала ствола производить через каждые 500-1000 выстрелов.
7. Для чистки и смазки деталей пистолета рекомендуется использовать чистую ветошь или марлю, ружейную смазку РЖ ТУ 38-1011315-90.
8. В целях обеспечения долговечности уплотнительных элементов и с целью обеспечения безопасности, не рекомендуется производить снятие баллончика, наполненного газом.
9. Для замены вышедшего из строя элемента запорного 3 (рис. 2), который является уплотнением клапана, необходимо выбить штифт 33 и извлечь клапан в сборе 40. Отвернуть втулку клапана 1 (рис. 2) от корпуса 10, снять клапан 2 с пружиной 4 и аккуратно извлечь элемент запорный из втулки клапана. После установки нового уплотнения провести сборку в обратном порядке.
10. Перед эксплуатацией пистолет MP-655K следует привести к нормальному бою, т.е. отрегулировать прицельное приспособление. Эту работу рекомендуется проводить в следующем порядке:
- определить дистанцию, на которой Вы наиболее часто собираетесь стрелять (не более 10 м);
- на листе бумаги изобразить мишень - черный круг диаметром 60 мм, закрепить его на деревянном щите или на другом предмете, который хорошо улавливает пули;
- подготовить пистолет к стрельбе, прицелиться и произвести несколько выстрелов по мишени с выбранной Вами дистанции;
- регулировку прицела в горизонтальной и вертикальной плоскости рекомендуется производить следующим образом:
- поворотом регулировочного винта сместить целик вправо (если пробоины находятся левее черного круга мишени) или влево (если пробоины находятся правее черного круга мишени);
- поворотом регулировочного винта прицела поднять прицел (если пробоины находятся под черным кругом мишени) или опустить (если пробоины находятся над черным кругом мишени).
Дополнительная информация
Паспорт пистолета МР 655К
Пульки, баллончики, аксессуары для пневматики.