Открытый коллиматорный прицел ZOS HQ 328
 Внешний вид товара может отличаться от изображённого на фотографии
|
861 руб
Товар закончился
Мы можем сообщить Вам когда этот товар появится
|
- Описание
- Оплата и доставка
- Гарантия


СМОТРЕТЬ В 3D
Производитель: Nantong Universal Optical Instrument Co.,Ltd
Характеристики открытого коллиматорного прицела ZOS HQ328
| Спецификация |
Увеличение |
Диаметр объектива, мм |
Выходной зрачок, мм |
Длина, мм |
Масса, кг |
Диаметр трубки, мм |
Расстояние от зрачка прицела до глаза, мм |
Поле видимости на расстоянии 100 ярдов (91,4 метра) |
| 1X20X30RD-P |
1x |
прямоугольный 20x30 |
20x30 |
120 |
0,12 |
- |
- |
- |
Прицельная марка в виде точки. Прицел ZOS HQ 328 смонтирован на креплении, рассчитанном под базу типа "ласточкин хвост" шириной 10-13мм. Установка коллиматорного прицела для ружья МР-27 (ИЖ-27) или ТОЗ-34 производится при помощи соответствующей переходной планки.
Коллиматорные прицелы удобны там, где требуется быстрое наведение на цель без использования увеличения. Прицел легкий и компактный.
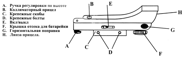
.jpg)
Схема коллиматорного прицела ZOS HQ328

Особенности оптических прицелов ZOS HQ 328
- Удобство использования. Высокая светопропускная способность линз, широкий диапазон регулировок по вертикали и горизонтали.
- Механическая надежность и стабильность работы. Прицелы ZOS проходили испытания на устойчивость к максимальной отдаче на оружии калибров 308WIN; 30-06 Spr; на карабинах ТИГР калибров 9,3x64; 7,62x54R.
Комплектация прицела
В комплекте с прицелом идёт батарейка и салфетка для протирания оптики.
Коллиматорный прицел ZOS HQ328 отлично подойдет для любых ружей с установленной универсальной базой типа «ласточкин хвост». Это очень легкое и простое в применении прицельное приспособление, которое отлично работает в условиях недостаточной освещенности, прекрасно держит настойки и имеет небольшие габариты, не мешает при транспортировке ружья.
При необходимости крепления на другие типы баз можно использовать переходники, система отлично адаптируется под разные типы ружей.
Коллиматорный прицел ZOS HQ328 обладает повышенной светопропускной способностью, благодаря качественным линзам. Он настраивается в двух плоскостях, что позволяет очень тонко регулировать его, подстраивать под любое оружие.
Прицельная метка горит ярко, полного заряда батарейки хватает на продолжительное время активного использования.
Прицел является отличным выбором для любого вида охоты, может универсально использоваться на разных типах оружия.
Производство: ZOS, Китай
Доставка заказа
Мы отправляем заказы при помощи Почты России, служб доставки СДЭК и Boxberry. Минимальная стоимость доставки в нашем магазине 280 рублей.
При обработке заказа наш менеджер предложит оптимальный способ доставки заказа с учётом Ваших пожеланий и рассчитает его стоимость. После отправки заказа в течении 3-4 дней Вам по электронной почте и SMS будет сообщен почтовый идентификатор отправления. Также, Вам придёт уведомление когда заказ прибудет в Ваш город и будет готов к выдаче.
Упаковка товара: воздушно пузырьковая пленка, картон. Отправка товара: в почтовых пакетах, в картонных коробках.
Подробнее о доставке
Оплата заказа
Полную стоимость заказа Вы сможете узнать после обработки заказа менеджером магазина.
Магазин ZosOptic.Ru работает на условиях:
- полная предоплата товара и услуг по его доставке;
- наложенный платеж - оплата товара и услуг по его доставке при получении заказа в почтовом отделении или в службе доставки. Оплата заказов наложенным платежом возможна для заказов стоимостью от 1000 до 6000 рублей.
Способы предоплаты заказа:
- пластиковой картой Visa, MasterCard, МИР;
- электронным кошельком Яндекс.Деньги, QIWI, Элекснет, Единый кошелек;
- через интернет-банк Альфа Банк, Промсвязьбанк, Бинбанк и другие;
- с баланса своего сотового телефона, подключенного к операторам МТС, Билайн, Теле2;
- через салоны связи Евросеть и Связной;
- через банк, по выставленной Вам квитанции.
Подробнее об оплате
Возврат товара
Если Вы получили товар низкого качества, либо товар не соответствует описанию — Вы можете вернуть его продавцу и получить обратно стоимость такого товара.
Если товар качественный, но по каким-то причинам он Вас не устраивает — Вы можете отказаться от заказанного товара в течение 7 дней после получения.
Подробнее о возврате товара
Вы смотрели
137,00 руб.
49,00 руб.
Скидка: 64%
Покупают вместе с этим товаром
Специальное предложение магазина
802,00 руб.
259,00 руб.
Скидка: 68%
907,00 руб.
599,00 руб.
Скидка: 34%
700,00 руб.
299,00 руб.
Скидка: 57%
720,00 руб.
429,00 руб.
Скидка: 40%
654,00 руб.
299,00 руб.
Скидка: 54%
1 080,00 руб.
699,00 руб.
Скидка: 35%
325,00 руб.
199,00 руб.
Скидка: 39%
476,00 руб.
159,00 руб.
Скидка: 67%
701,00 руб.
350,00 руб.
Скидка: 50%
654,00 руб.
299,00 руб.
Скидка: 54%
700,00 руб.
299,00 руб.
Скидка: 57%
802,00 руб.
259,00 руб.
Скидка: 68%
720,00 руб.
429,00 руб.
Скидка: 40%
1 080,00 руб.
699,00 руб.
Скидка: 35%
701,00 руб.
350,00 руб.
Скидка: 50%
907,00 руб.
599,00 руб.
Скидка: 34%
476,00 руб.
159,00 руб.
Скидка: 67%
325,00 руб.
199,00 руб.
Скидка: 39%
[Вернуться в каталог]
|
|